- 地址:
- 河北省泊頭市富鎮開發區
- 傳真:
- 0317-8041117
- Q Q:
- 28505225
普通脈沖袋式除塵器按風機全壓設計,一般壓力為3?8kPa>高壓脈沖袋式除塵器用于髙 爐煤氣凈化為300?400kPa,相差近100倍;用于某些化工過程的脈沖袋式除塵器使用壓力達 lOOOkPa以上。還有用于其他場合的高壓脈沖袋式除塵器,也比普通脈沖袋式除塵器耐壓高。 高壓脈沖袋式除塵器為承受壓力合理、安全起見都設計成圓筒形。
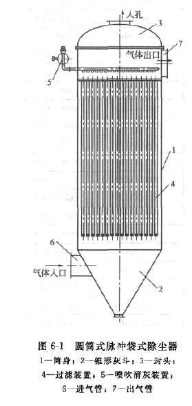
圓筒式脈沖袋式除塵器是以圓筒形結構為殼體,以濾袋為過濾元件,應用脈沖式清灰方 法,按濾料的過濾原理組織與完成工業氣體除塵與凈化。
圓筒式脈沖袋式除塵器在結構上具有良好的力學特性, 適用于壓力高或易燃、易爆威脅的工業氣體除塵與凈化。 用于高爐煤氣、轉爐煤氣、鐵合金煤氣等干法除塵工程, 煙氣溫度可達300TC?
1.高壓脈沖袋式除塵器結構
圓筒式脈沖袋式除塵器如圖6-1所示。

除塵器殼體、過濾裝置、噴吹淸灰裝置和安全裝置是 岡簡式脈沖袋式除塵器的關鍵構件。
除塵器殼體為圓形結構,按鋼制容器設計。其中,筒 身為圓筒形,封頭為球形,灰斗為圓錐形。為滿足檢修換 袋需要,封頭與筒身之間可為法蘭式,也可為焊接式。彈 簧式濾袋骨架的出現,使長濾袋在凈氣室內整體換袋成為 可能,使除塵器殼體的按壓力容器管理成現實。在設計除 塵器殼體時,其結構計算可參閱第八章貯氣罐設計計算。
2.高壓脈沖袋式除塵器噴吹裝置
噴吹裝置由脈沖噴吹控制儀、電磁脈沖閥和強力噴吹 裝罝組成,按清灰工藝需要設計與配置。其中,強力噴吹 裝置推薦應用中冶集團建筑研究總院環保分院的專利產 品——脈沖噴吹袋式除塵器的側管誘導清灰裝置,濾袋直 徑為 #120mm、>130mm、#140mm、#150mm、^160mm,濾 袋長度為9m時,袋底噴吹壓力可保證3000Pa,具有優良 的清灰特性。
3.高壓脈沖袋式除塵器過濾裝置
過濾裝置主要包括濾袋骨架和濾袋。濾袋骨架隨者濾袋的加長而加長 按需要可采用二段式、三段式或彈簧式。彈簧式特別適用于封頭內置換濾袋
4.工藝技術計算
(1)計算過濾面積e — ?vt _gvt式中,SQ為濾袋計箅過濾面積,m2;?為工況煤氣流景,m3/h; m/min,一般取 0. 6?0. 90m/min;?為過濾負荷,mVCh.m2)^
(2)計算濾袋數量預估濾袋材質、規格與長度,計算濾袋數量。
Si = ndL
(有效長度為6?9m), (見第七章第五節)。
(6-1)
vF為濾袋過濾速度,Sono=s7J為濾袋直徑,式中,SvSl條濾袋過濾面積,濾袋計算數條。
(3)排列組合以圓形花板為依據,考慮濾袋直徑、孔間隔及邊距等必要尺寸,排列組 合,確定濾袋實際分布數量。具體按下式計算核定。
L為濾袋有效長度,
(6-2) ?o為
mz i
、2826取?
Do-
(6-3)
D=m(d+fl) +2a0
式中,為圓筒計算直徑,m; 9vt為每臺除塵器處理風量,m3/h; %為圓筒斷面速度, m/s, —般取0.7?l.Om/s; m為直徑上花板孔的大數量,個;為濾袋直徑,m; a為花 板孔凈間隔,m, —般取50?70mm; a。為距筒壁的凈邊距,m, —般取120?150mm; D為 筒體實際定性直徑,m,校核時要求
(4)確定濾袋實際數量以濾袋定性尺寸和圓心為基準,呈直線排列,按大數置確定濾 袋實際裝置數。
(5)校核濾袋長度按花板上濾袋實際裝置數ft與尺寸適度校核濾袋長度,保證濾袋過濾 面積的優化。
(6)確定相關尺寸
①封頭高度
Hi==0. 25D+80
②凈氣室髙度
Hz=2h
③塵氣室髙度
(6-4)
(6-5)
(6-6)
④灰斗髙度
.0. SiD-d)
tana
Hi
(6-7)
式中,為封頭髙度,nn D為圓筒直徑,m; H2為凈氣室直線段高度,m; A為噴吹 管中心至花板面的凈高,m, H3為塵氣室高度,m; JL為濾袋有效長度,AH為安全高 度,一般取300?500mim?為灰斗高度,m; d為排灰U直徑,m; tana為灰斗傾斜角的正
切,a—般取30°?32°; AA為排灰管直線段高度,m, —般取80?120mm。
⑤支架高度:按實際需要確定支架形式與排灰口至支座底腳的髙度《5。
⑥設備總高度H=H1+Hz + H3 + Hi+Hs?(6-8)式中,H為設備總高度,
5.附屬設施
按主體除塵工藝計算結果,相應確定附屬設施的規格與數量。包括:①走臺、欄桿、梯子 及安全設施;②脈沖噴吹清灰設施;③檢測設施;④運行操作與控制系統;⑤貯氣罐及其配氣 設施;⑥料位監測與控制。
6.安全閥
(1)安全閥的型式可為直接載荷的彈簧式,也可為直接載荷的重錘式;若采用非直接載荷 式安全閥,必須做到副閥失靈時,主閥仍能按規定開啟壓力下,自行開啟排出其額定泄放量。
(2)壓力容器有安全閥時,容器設計壓力按以下步驟確定:
①根據壓力容器工作壓力/確定安全閥開啟壓力取么<(1.1~1.05)/>?;當么< 0.18MPa時,可適當提高&相對于/>?的比值。
②取容器的設計壓力等于或稍大于開啟壓力即P>?z。
(3)安全閥排放面積
①氣體
臨界條件時:
p=---(6-9)
7. 6XlO~2CKpd{M/ZT)o s??
/?9??*/(^—1)
亞臨界條件時:
F=-^2--(6-io)
55. 85Kpi[(.M/ZT){k/Ck-l)LCp0/pi')^i-(.p0/pi)li+l)^)0 S}0 S
式中,P。為安全閥出側壓力,MPa; A為氣體絕熱指數;M為氣體摩爾質量,kg/kmol; Z為氣體的壓縮系數,對空氣Z=1.0; C為氣體特性系數,見表6-1? W,為容器的安全泄放 量,kg/h; iC為安全閥的額定泄放系數,K = 0.9; 了為泄放裝置進口氣體溫度,K。

②飽和蒸氣。飽和蒸氣中蒸氣含量應不小于98%,過熱度不大于lit。 當 pd<10MPa 時: 爆破片裝置是由爆破片(或爆破片組件)和夾持器(或支承圈)等裝配組成的壓力泄放安 全裝置,用于保護壓力容器或管道免遭因超壓而發生破壞的一種安全泄壓裝置。具有結構簡 單,排放面積大,密封性能好,工作可靠等優點。它適合于工作介質黏度大,在聚合物沉積 或腐蝕性能強以及壓力急劇升高,普通安全閥所不能勝任的壓力容器或管道上的保護。爆破片 裝置執行GB 567國家標準。爆破片裝置選型指南見表6-2。 (1)壓力容器裝有爆破片裝置時,容器的設計壓力按以下步驟確定。 ①確定爆破片的低標定爆破壓力根據不同型式的拱形金屬爆破片,推薦的值見表6-3。 ②選定爆破片的制造范圍爆破片的制造范圍見表6-4。 ③計算爆破的設計爆破壓力pb。九等于加上所選爆破片制造范圍的下限(取絕對值); ④確定容器的設計壓力/?。/>等于/>b加上所選爆破片制造范圍的上限。 (2)爆破片排放面積的計算 ①氣體 ^8 F^7. 6X10-2CK>b(M/ZT)0-5?(6'13) 式中,M為氣體的摩爾質量,kg/kmol; Z為氣體的壓縮系數,對空氣Z=1.0, 了為超壓泄放裝置進口氣體溫度,K,其他符號意義同前。 ②飽和蒸汽 當 />b<10MPa 時: W F=5.25CK'pb?(6"14) 當 10MPa>b<22MPa 時: F=_W.r22912ph-73l5-] 5.25K AL190. 6?一6895」 式中,f為安全閥或爆破片的小排放面積,mm2;對全啟式安全閥,即A>l/4d,時, F=0. 785^ ,對微啟式安全閥,即A>[(l/40)?(l/20)]dt時,平面型密封面F=3. 錐面型密封面F=3.14次Asinp W,為容器的安全泄放量,kg/h; C為氣體特性系數,見 表6-1; JC'為爆破片的額定泄放系數,K' = 0.62; />b為煨破片的設計壓力,MPa。 (3)爆破片裝置的材料 ①爆破片材料及其高使用溫度見表6-5。 ②爆破片所用材料不允許被介質腐蝕,必要時,在與介質的接觸面上ar蓋保護膜。 ③夾持器常用材料有碳鋼、奧氏體不銹鋼、蒙乃爾及因料鎳等。材料性能必須符合相應 標準的要求。 8.安全閥與爆破片裝置的組合裝置 (1)安全閥與爆破片裝置的串聯組合安全閥與爆破片裝置串聯組合時,容器超壓的限度 及泄放裝置的動作壓力應符合一般規定的要求。 (2)安全閥與爆破片裝置的并聯組合安全閥與爆破片裝置并聯組合時,容器超壓的限度 及泄放裝置的動作壓力應符合一般規定的要求。其中安全閥的動作壓力應不大于設計壓力,爆 破片的動作壓力不得超過1.04倍設計壓力。
F=5.25kpd?(6"U)當 10MPa7.爆破片裝置





上一篇:環隙噴吹袋式除塵器
下一篇:大中型脈沖袋式除塵器

